Apenas hace unos días nos enteramos de los nuevos certificados inalámbricos de Shimano y Sram, el ultimo movimiento en esta guerra comercial ha sido por parte de la marca nipona patentando un puño tipo Grip Shift multifuncional e inalámbrico. 

La guerra inalámbrica entre las dos marcas gigantes de transmisiones está en pleno apogeo, el último paso dado ha venido de la parte de Shimano con su nueva patente № US 10 889 346 que se trata de un cambio Grip Shift inalámbrico con capacidad de controlar varios componentes de la bicicleta.

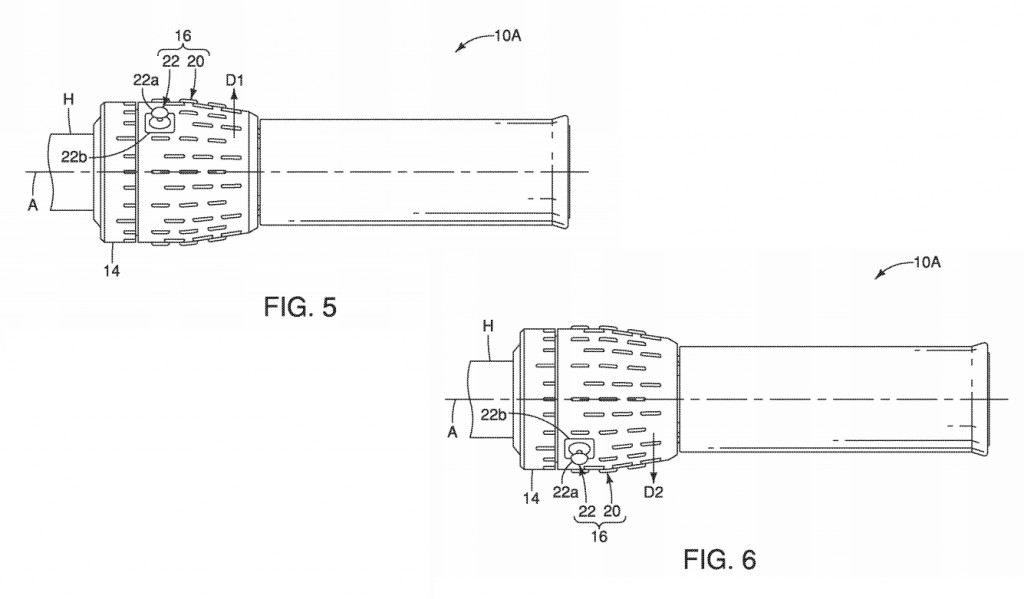
Observando las imágenes podemos ver un anillo el D2 cuya función sería para las marchas, con la peculiaridad de que solo tendría un clic para arriba y otro para abajo, volviendo siempre a la misma posición en cada accionamiento.

El botón D4 es un mini-joystick que cambia la función del mando, pudiendo controlar las suspensiones de la bicicleta, de esta manera se podrá bloquear, abrir o dejar en una posición media ambas suspensiones sin soltar las manos del manillar, lo que desconocemos es si también permitirá manejar la tija telescópica o permitirá añadirle otras funciones en el futuro.

El propio Shimano afirma que estos mandos Grip Shift tendrán la opción de estar conectados directamente a un ciclo computador para sacar su energía y no tener que llevar batería. Nos encontramos ante un paso más, en simplificar el cuadro de mando de las bicicletas y entrar en una nueva era donde los cables serán cosa del pasado.